Драйвер шагового мотора 2D811
Код товара: CTTL14371
Есть в наличии| 14790 c |
| 14790 c |
|
|
|
|
Цифровой блок управления шаговыми двигателями на базе 32-битного ЦСП. Большой ток фазы и напряжение питания позволяют управлять любыми шаговыми двигателями 86, 110 и 130 серий. Бюджетность настоящей модели хорошо сочетается с высокими эксплуатационными характеристиками. Встроены защиты от превышения напряжения, тока, перегрева, реализовано автоматическое снижение тока удержания для уменьшения нагрева двигателя и драйвера, установлен мощный радиатор с вентилятором охлаждения. Все входы оптоизолированы. Оптимально подходит для управления двигателями NEMA34, такими как ST86-150, двигателями Fulling серии FL86ST: FL86STH118, FL86STH80, FL86STH156. Подходит в качестве замены популярных драйверов Leadshine MA850h, YKA2811MA, Q2HB110M.
Основные сведения
Блок управления шаговым двигателем Yako 2D811 – современный высокопроизводительный драйвер биполярного шагового двигателя. Драйвер предназначен для управления 4,6 и 8 выводными гибридными шаговыми двигателями и имеет следующие функциональные особенности:
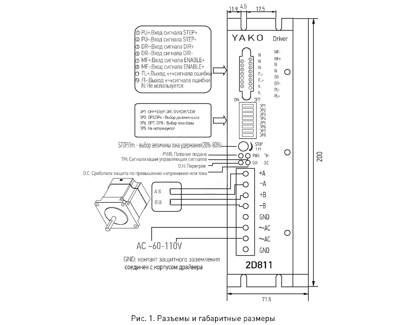
Разъемы и габаритные размеры
Подключение управляющих сигналов
ВНИМАНИЕ! Запрещается подключать и отключать какие-либо кабели на включенном драйвере! Обязательно предварительно обесточьте систему.
Для подключения управляющих сигналов рекомендуется использовать кабель типа «витая пара». Входные и выходные кабели не должны располагаться слишком близко во избежание помех.
Все операции с кабелями производить только на выключенном устройстве! Драйвер работает с управляющими сигналами STEP/DIR. Управляющие сигналы подключаются к соответствующим контактам разъема X1. Обработка сигналов STEP/DIR происходит по заднему фронту импульса, длительность импульса каждого должна быть не менее 5 мкс. Уровни напряжения сигналов: низкий 0-0.5 В, высокий 4-5 В. При использовании источника сигналов с более высоким напряжением может потребоваться использование резистора. Сопротивление входов 220 Ом.
| Контакт | Описание |
|
PU + PU- |
В режиме STEP/DIR (положение DP1=OFF) - вход для импульсов STEP. При поступлении прямоугольного импульса драйвер переместит вал двигателя согласно настройкам микрошага на один дискрет в направлении, заданном сигналом DR. Длительность фронтов импульса не должна превышать 1 мкс. В режиме CW/CCW (положение DP=ON) – вход для импульсов CW. |
|
DR+ DR- |
В режиме STEP/DIR (положение DP1=OFF) - вход ход сигнала DIR(направление движения). Для корректной отработки смены направления шага промежуток между сменой уровня сигнала направления DIR и следующим импульсом STEP должен составлять не менее 2.5 мкс. В режиме CW/CCW (положение DP=ON) – вход для импульсов CСW. |
|
MF+ MF- |
Сигнал ENABLE активности драйвера. Высокий уровень сигнала - двигатель обесточен. Обычно оставляется не подключенным. |
|
FL+ FL- |
Выход ошибки для подсоединения к контроллеру. Активизируется при срабатывании защит драйвера. На выходе – логический 0 или 1 (0 и 5 В соответственно). |
Подключение двигателей
Драйвер может управлять любыми 4,6 и 8-выводными гибридными шаговыми двигателями. Рекомендуется использовать биполярные гибридные двигатели с 4 выводами(схема А).Схема А соответствует подключению шаговых двигателей с 4 выводами Двигатели с 6выводами подключаются по схеме Б или В. Двигатели с 8 выводами – по схемам Г или Д.
Питание
Питание подсоединяется к соответствующим клеммам на разъеме c клеммниками согласно рис.1. Полярность подключения не важна. Модуль может быть запитан как переменным, так и постоянным током. Рекомендуемое напряжение питания ~80..110 В.
Для питания модуля можно использовать как линейные, так и импульсные источники питания, однако настоятельно рекомендуется питать драйвер от трансформатора или линейного источника. В случае использования импульсных источников питания необходимо использовать источник питания с 20-40% запасом по току и напряжению. В случае подключения нескольких драйверов к одному источнику питания надо использовать схему питающей шины «звезда». Не подключайте драйвер к клеммам питания другого драйвера!
Выбор микрошага и тока фазы
Микрошаг и ток фазы являются изменяемыми параметрами и настраиваются с помощью группы переключателей DIP_SW. Микрошаговый режим устанавливается переключателями SW5-SW8 согласно таблице:
Выбор тока фазы осуществляется исходя из требований к крутящему моменту и нагреву двигателя. В связи с тем, что последовательное или параллельное подключение обмоток 8-выводных моторов существенным образом меняют характеристики цепи, выбор тока также должен обязательно учитывать вид двигателя и схему подключения обмоток. Ток фазы двигателя устанавливается DIP-переключателями SW1, SW2, SW3 согласно таблице:
Примечание. Из-за индуктивности обмоток реальный ток в обмотках может отличаться от установленного значения.
Автоматическое снижение тока удержания вала
Автоматическое снижение тока удержания вала применяется для снижения нагрева и потребляемой мощности драйвером во время удержания вала неподвижно. Ток в обмотках шагового двигателя будет автоматически снижен после 200 мс простоя двигателя. Степень снижения задается потенциометром STOP/lm на корпусе драйвера в пределах 20-80% от номинального значения, установленного переключателями DP6-DP8.
Индикаторы
Светодиод PWR горит, сигнализируя о том, что на драйвер подано питание. Светодиод O.C индицирует срабатывание защиты от превышения током или напряжением предельного значения. В случае его загорания проверьте сопротивление обмоток двигателей (оно должно соответствовать паспортным данным), а также правильность подключения и целостность всех кабелей. Светодиод O.H индицирует срабатывание защиты от перегрева. В случае его загорания проверьте правильность настроек тока, проверьте, работает ли вентилятор на радиаторе, обеспечьте возможность беспрепятственной циркуляции воздуха у радиатора драйвера. В качестве дополнительных мер по снижению нагрева можно снизить ток удержания потенциометром STOP/lm, по возможности (насколько позволяет) также можно понизить питающее напряжение.
------------------
СЕЕД14371:14790
Доставка может производиться различными по Вашему выбору способами. Это и самовывоз, и курьерские службы по г. Москве, и транспортные компании по России. Также мы можем выслать этот товар Почтой России. Если размеры, вес товара Драйвер шагового мотора 2D811 или соображения удароустойчивости находятся в разрешённых Почтой России пределах.





